Di Giuseppe Esposito
Epoca: XI Dinastia
Titolare
| Titolare | Titolo | Necropoli[3] | Dinastia/Periodo | Note[4] |
| Khety[3] | Portatore del sigillo del Re del Basso Egitto, Tesoriere del Re | Deir el-Bahari | XI dinastia (Monthuhotep-Nebhepetre) |
Biografia
Nessuna notizia biografica ricavabile[5].
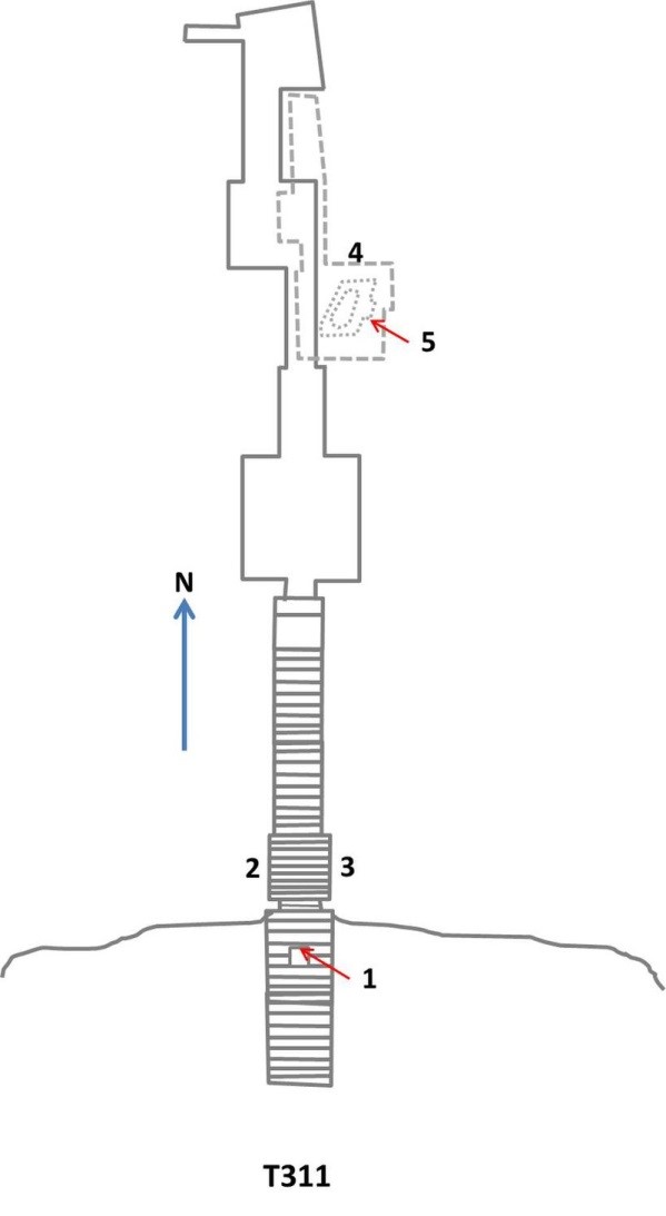
La tomba
Si tratta di una tomba molto antica, risalente al Medio Regno e, segnatamente, al regno di Montuhotep II.
Si sviluppa su un’unica direttrice sud-nord: una lunga scala parte da un cortile; al centro di questa (n.ro 1 in planimetria[6]) si trova un altare in granito rosso dedicato al defunto (ancora in situ).

La scala prosegue e, in un largo, si trovano, sulle pareti (2-3) due stele con scene e un re armato di mazza[7]; alla base della scala si apre una cappella al cui centro è ancora presente la base di una statua.
Il corridoio prosegue con il medesimo orientamento fino all’accesso a un appartamento sotterraneo in cui (5) si trova il sarcofago; sulla parete (4) brani dai Testi dei sarcofagi. Nella tomba vennero rinvenute:
- una testa lignea di statua del defunto (Metropolitan Museum of Art cat. 26.3.104);
- modello in miniatura di un bue macellato (Metropolitan Museum of Art cat. 26.3.103);
- frammenti di rilievi (probabilmente da questa tomba) rinvenuti ai piedi della scala di accesso[8].

Fonti
- ^ Gardiner e Weigall 1913
- ^ Donadoni 1999, p. 115.
[1] La prima numerazione delle tombe, dalla n.ro 1 alla 253, risale al 1913 con l’edizione del “Topographical Catalogue of the Private Tombs of Thebes” di Alan Gardiner e Arthur Weigall. Le tombe erano numerate in ordine di scoperta e non geografico; ugualmente in ordine cronologico di scoperta sono le tombe dalla 253 in poi.
[2] Nella sua epoca di utilizzo, l’area era nota come “Quella di fronte al suo Signore” (con riferimento alla riva orientale, dove si trovavano le strutture dei Palazzi di residenza dei re e i templi dei principali dei) o, più semplicemente, “Occidente di Tebe”.
[3] le Tombe dei Nobili, benché raggruppate in un’unica area, sono di fatto distribuite su più necropoli distinte.
[4] Le note, sovente di inquadramento topografico della tomba, sono tratte dal “Topographical Catalogue” di Gardiner e Weigall, ed. 1913 e fanno perciò riferimento alla situazione del’epoca.
[5] Porter e Moss 1927, p. 387
[6] La numerazione dei locali e delle pareti segue quella di Porter e Moss 1927, p. 382.
[7] I blocchi di tali stele, con raffigurazioni di danzatori, arcieri, e scene di processione funebre, agricole e di caccia, si trovano oggi presso il Metropolitan Museum of Art di New York (cat. 26.3.354). Altri blocchi, recanti scene di caccia e cani che attaccano gazzelle sono pure presso il M.M.A. (cat. 23.3.173) così come altri con un graffito di Nebneteru, Gran sacerdote di Amon nell’anno XVII di regno di Ramses II (cat. 23.3.26)
[8] Porter e Moss 1927, pp. 387-388.

2 pensieri su “TT311 – TOMBA DI KHETY”