Di Giuseppe Esposito
Epoca: XVIII Dinastia
Titolare
| Titolare | Titolo | Necropoli[3] | Dinastia/Periodo | Note[4] |
| Senet e Antefoker | Profetessa di Hathor / Governatore della Città e Visir | Sheikh Abd el-Qurna[3] | XII dinastia (Sesostri I) | versante est della collina, poco più in alto della TT83 |
Biografia
TT60 è una delle pochissime tombe destinate ad una donna, relativa al Medio Regno di cui si abbia notizia nell’area della Necropoli tebana. Benché normalmente indicata come “tomba di Antefoker[5]“, di fatto si tratta di una sepoltura espressamente realizzata per una donna. Non è chiaro, tuttavia, il rapporto che legava i due personaggi, giacché se il nome Senet era quello della madre di Antefoker, Profetessa di Hathor, non viene escluso che, con riferimento alla TT60, possa trattarsi anche del nome, alquanto usuale nel periodo, di una delle mogli[6]. E’ altresì noto che una delle mogli di Antefoker si chiamava Sitsisobek.


L’incarico particolarmente prestigioso di Antefoker potrebbe essere, peraltro, alla base dell’onore concesso a una donna di poter disporre di una tomba propria nell’area. Antefoker[7], infatti, divenne visir durante il regno del re Amenemhat I (probabilmente nell’anno X di regno) e proseguì nel suo incarico durante il regno del suo successore Sesostri I (forse fino all’anno XXIII-XXIV) (XII dinastia). Nella tomba egli si qualifica come “figlioccio” del re e non si eslcude che abbia curato la sua istruzione presso le scuole di Palazzo, dato il periodo di nascita, unitamente al futuro Amenemhat I. La lunga permanenza nell’incarico di visir ne fece molto verosimilmente un personaggio di particolare importanza per la Corte, e concrete, anche se non molte, sono le tracce che a lui fanno riferimento in altre sedi[8]: è infatti noto che organizzò una spedizione verso il Paese di Punt, e che ebbe un concreto ruolo nelle campagne militari di riconquista della Nubia non senza dimostrare una buona dose di crudeltà.

La tomba
La tomba era già nota, ma dimenticata, dagli inizi del XIX secolo; solo nel 1907, mentre Weigall e Gardiner preparavano la loro pubblicazione si provvide a chiuderne l’accesso con un cancello in ferro.

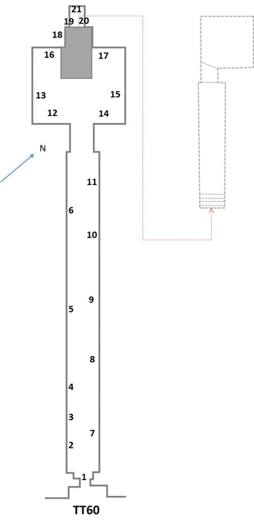
Al contrario di altre tombe del periodo di massima espansione delle necropoli (XVIII e XIX dinastia), a forma di “T” rovesciata, la TT60 (che risale alla XII dinastia) si sviluppa in un lungo corridoio[9], che termina in una camera quadrata[10] con nicchia di fondo, in cui si trovava una statua di Senet; da qui, con il medesimo orientamento est-ovest, si accede, per il tramite di un pozzo profondo circa 2 m, ad un piccolo appartamento sotterraneo. In antico, forse durante la XVIII dinastia, nella camera quadrata si sviluppò un incendio che, forse a causa di oli e resine del corredo funerario, divampò così violentemente da far esplodere la statua di Senet che venne infatti rinvenuta in frammenti.
Nel breve corridoio che da accesso alla TT60, sulle cui pareti (1 in planimetria) è rappresentata Senet seduta e si leggono a stento i resti pittorici di un defunto (?), dà accesso alla lunga sala sulle cui pareti sono rappresentate (2) scene campestri gioiose con danzatrici, suonatrici e acrobati, con raccolta dell’uva, di irrigazione e riempimento dei granai. Poco discosto, molto danneggiata, scena del (3) defunto (?) in presenza del re Sesostri I; seguono (4) scene del pellegrinaggio in barca ad Abydos di Antefoker e Senet, con anatre che volano dinanzi alla prua. Poco oltre (5-6), su tre registri sovrapposti, scene della processione funeraria, per terra e su acqua, in presenza del defunto e della madre Senet, cui partecipano sacerdotesse di Hathor, danzatrici e un arpista (?); tra le altre suppellettili trasportate in processione, alcune statue di Sesostri I, e il sarcofago, con preti di Hathor che suonano nacchere, flautiste, e saltimbanchi. Sulla parete opposta, (7) su quattro registri, tre fanciulle dinanzi al defunto, scene di vagliatura, Trebbiatura con buoi, e trasporto del grano; seguono (8) scene del defunto che pratica l’uccellagione e la pesca, con ippopotami al di sotto della barca, e uomini che procedono alla pulizia del pescato e della cacciagione.


Scene di caccia anche successivamente (9) con il defunto appiedato, accompagnato da attendenti, che caccia tori selvatici, iene, linci e capre nel deserto; in una scena più in basso, uomini trasportano provvigioni e alberi abbattuti.

Segue (10), su quattro registri, il lavoro di conciatori di pelle, preparazione di cibi con macellai, panettieri, birrai e cuochi; poco oltre (11), il defunto e la moglie passano in rassegna doni per la festa del nuovo anno, vasi, gioielleria, oche, gru, vitelli e tori.



Un corridoio dà accesso alla camera quadrata; sulle pareti: (12) portatori di offerte su tre registri sovrapposti; il defunto e Senet (?) (13) con lista delle offerte e rituali di offerta, nonché musicisti, maschi e femmine, che cantano un inno ad Hathor.

Sulla parete aldilà dell’ingresso (14), ancora arpiste e cantanti, portatori di offerte, macellai e buoi rovesciati a terra; seguono scene molto malridotte (15) che sembrano però molto simili a quelle riportate sulla parete opposta (13).

Una falsa porta (16) reca una fanciulla in offertorio a Senet e, sugli stipiti (17), rappresentazioni di Senet (?). Una sala più interna reca sulle pareti (18-19), su tre registri, vasi, collane e gioielleria, una fanciulla che riempie una coppa di vino da una giara e un’altra che offre unguenti e uno specchio a Senet; poco oltre (20) il defunto (?) con Senet e (21) i resti di una falsa porta, forse di Senet.
Fonti
- Gardiner e Weigall 1913
- Donadoni 1999, p. 115.
- Gardiner e Weigall 1913, pp. 22-23
- Porter e Moss 1927, p. 121.
- Allen 2003.
- Gardiner e Weigall 1913.
- Porter e Moss 1927, planimetria a p. 106.
- Porter e Moss 1927, pp. 121-123.
[1] La prima numerazione delle tombe, dalla n.ro 1 alla 253, risale al 1913 con l’edizione del “Topographical Catalogue of the Private Tombs of Thebes” di Alan Gardiner e Arthur Weigall. Le tombe erano numerate in ordine di scoperta e non geografico; ugualmente in ordine cronologico di scoperta sono le tombe dalla 253 in poi.
[2] Nella sua epoca di utilizzo, l’area era nota come “Quella di fronte al suo Signore” (con riferimento alla riva orientale, dove si trovavano le strutture dei Palazzi di residenza dei re e i templi dei principali dei) o, più semplicemente, “Occidente di Tebe”.
[3] le Tombe dei Nobili, benché raggruppate in un’unica area, sono di fatto distribuite su più necropoli distinte.
[4] Le note, sovente di inquadramento topografico della tomba, sono tratte dal “Topographical Catalogue” di Gardiner e Weigall, ed. 1913 e fanno perciò riferimento alla situazione del’epoca.
[5] Il nome si trova anche nelle versioni Antefoqer, Antefiker, Intefiqer, Intefiker.
[6] Anche perché la parola “senet” può essere a sua volta tradotta come “sorella” o “moglie”.
[7] Il nome Antefoker, ovvero “Antef è eccellente”, dimostrerebbe la sua nascita durante la XI dinastia, quando il nome Antef era usuale per alcuni regnanti.
[8] Tra le principali:
- Mastaba n. 400, nota come “Mastaba di Antefoker”, di El-Lisht l’antica Iti-Tawy, sita nell’angolo sud-orientale del complesso funerario di Amenemhat I; nonostante restino poche tracce della mastaba originale, è possibile leggere dai rilievi: “Antefoker, figlio di Senet” e i titoli “Governatore della città”, “visir” e “ispettore della grande Corte”;
- la cosiddetta stele legale o “stele di Antefoker”, di Mersa Gawasis, (O’Connor 2016, pp. 74-75), , antico porto della XII dinastia con il nome di Saww sul Mar Rosso, in cui il visir Antefoker, “direttore della città […] visir […] direttore delle sei grandi corti”, e il cancelliere Ameny vengono incaricati dal re di realizzare una flotta per raggiungere le miniere di Punt;
- stele n. 8 di Uni, da Wadi el-Hudi, in una cava di ametista, con cui un re (molto verosimilmente Sesostri I, ma la stele è molto danneggiata) dà incarico al “responsabile della città, il visir e principe, responsabile delle sei grandi corti, Antefoqer” di procedere al trasporto delle ametiste;
- due iscrizioni a el-Girgaui di cui una (cat. RILN 73) fa riferimento ad una cruenta campagna di guerra per riprendere il controllo nella Nubia inferiore (Alexander Peden 2001), e della città di Wawat (probabilmente nell’anno XXIX di regno di Amenemhat I); Antefoker dichiara di aver “macellato la popolazione, bruciato le case e distrutto i raccolti”, e di aver ucciso, o sacrificato, personalmente, durante il viaggio di ritorno verso casa, il capo dei nubiani ribelli.
[9] Circa 12 m x 1,20 di larghezza x 2,35 di altezza all’ingresso; l’altezza va mano a mano diminuendo fino alla cappella terminale alta circa 1 m.
[10] Larga 3 m, profonda 2,75 e alta, all’ingresso, 1,75 m.

2 pensieri su “TT60 – TOMBA DI SENET e del figlio ANTEKOFER”