Di Giuseppe Esposito

Epoca: XIX Dinastia
Titolare
| Titolare | Titolo | Necropoli[3] | Dinastia/Periodo | Note[4] |
| Pennesuttawy | Capitano delle truppe, Governatore delle terre meridionali | Dra Abu el-Naga | XIX dinastia | più in basso e a sud della TT158 |
Biografia
Notizie biografiche ricavabili dalle pitture parietali, il nome della moglie, Mia, e quello di un figlio, Nakhtmin e di una figlia, Baketwerner[5].
La tomba
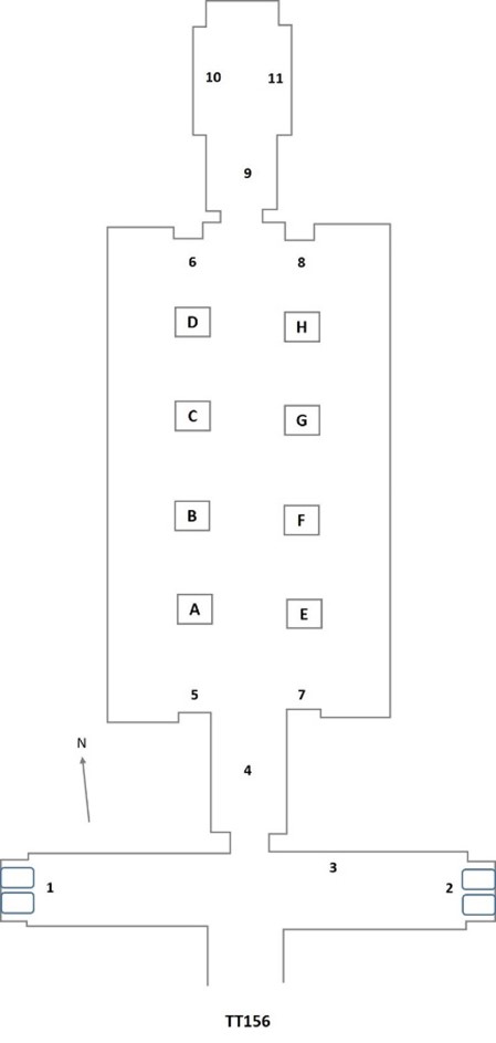
Planimetricamente la tomba si presenta con una sala trasversale da cui un corridoio dà accesso ad una sala longitudinale il cui soffitto è sorretto da otto pilastri. Molto danneggiati i dipinti della sala trasversale alle cui estremità (1 e 2 in planimetria[6]) si trovano statue del defunto e della moglie. Su una parete (3) una divinità (non identificabile) sotto un padiglione.
Un ampio corridoio, sulle cui pareti (4) erano riportati testi propiziatori, adduce alla sala con pilastri; su quattro di questi, che come paraste si distaccano dalle pareti (5-6-7-8), è rappresentato il defunto mentre su quelli centrali (A-B-C-D-E-F-G-H) il defunto dinanzi a varie divinità tra cui Maat (B), Nut (B-H), Ra-Horakhti (F), Shu (F), il pilastro Djed (G). Una sala più interna reca sull’architrave (9) il defunto inginocchiato dinanzi a Osiride e alla Dea dell’Occidente (Mertseger) e a Ra-Horakhti e Maat; sulle pareti del corridoio il defunto con il figlio Nakhtmin , Capo delle stalle di Sua Maestà, e la figlia Baketwerner, su una parete e il defunto con la moglie e inni a Osiride sull’altra. Su pareti opposte (10-11) scene di offertorio[7].
Fonti
- Porter e Moss 1927, p. 263.
- Gardiner e Weigall 1913
- Donadoni 1999, p. 115.
- Porter e Moss 1927, p. 265.
- Gardiner e Weigall 1913, pp. 30-31
[1] La prima numerazione delle tombe, dalla n.ro 1 alla 253, risale al 1913 con l’edizione del “Topographical Catalogue of the Private Tombs of Thebes” di Alan Gardiner e Arthur Weigall. Le tombe erano numerate in ordine di scoperta e non geografico; ugualmente in ordine cronologico di scoperta sono le tombe dalla 253 in poi.
[2] Nella sua epoca di utilizzo, l’area era nota come “Quella di fronte al suo Signore” (con riferimento alla riva orientale, dove si trovavano le strutture dei Palazzi di residenza dei re e i templi dei principali dei) o, più semplicemente, “Occidente di Tebe”.
[3] le Tombe dei Nobili, benché raggruppate in un’unica area, sono di fatto distribuite su più necropoli distinte.
[4] Le note, sovente di inquadramento topografico della tomba, sono tratte dal “Topographical Catalogue” di Gardiner e Weigall, ed. 1913 e fanno perciò riferimento alla situazione del’epoca.
[5] Porter e Moss 1927, p. 265.
[6] La numerazione dei locali e delle pareti segue quella di Porter e Moss 1927, p. 264.
[7] Porter e Moss 1927, pp. 265-266.

2 pensieri su “TT156 – TOMBA DI PENNESUTTAWY”