Di Giuseppe Esposito
Epoca: Periodo Ramesside
Titolare
| Titolare | Titolo | Necropoli[3] | Dinastia/Periodo | Note[4] |
| Sobekmose[5] | Capo dei preti wab[6], Padre divino nel tempio di Amenhotep III e di Sokar | Qurnet Murai | Periodo Ramesside |
Biografia
Nessuna notizia ricavabile[7].
La tomba
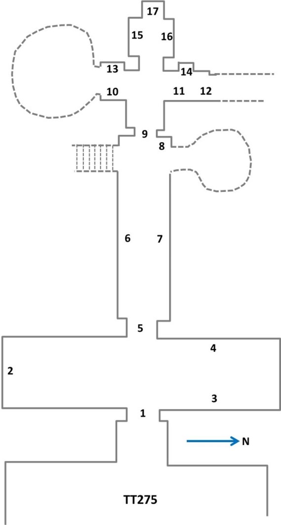
L’accesso a TT275 è possibile da un cortile; la tomba si sviluppa con una sala trasversale cui ne segue una perpendicolare secondo lo schema planimetrico a “T” rovesciata tipica delle sepolture del periodo. Al fondo si apre un appartamento funerario non ultimato. Un breve corridoio, sulle cui pareti (1 in planimetria[8]) sono riportati i titoli del defunto, dà accesso alla sala trasversale; sulle pareti: sul lato corto a sud (2) i resti di una stele con tracce di testo. Su altra parete (3) resti di scena di offertorio da parte di un uomo ad una divinità femminile; poco oltre (4) resti di scene della processione funeraria (?) con barche e riti sacri.
Un altro breve corridoio, sulle cui pareti sono riportati (5) due uomini, immette in una sala perpendicolare alla precedente. Sulle pareti (6) su cinque registri sovrapposti, brani tratti dal Libro delle Porte (?) con scene della confessione negativa (?), scrigni e remi (?) dinanzi a divinità maschili e femminili. Sulla parete opposta (7) scene dal Libro delle Porte e (8) il defunto e la moglie (della quale non viene indicato il nome) in adorazione di Anubi e della Dea dell’Occidente (Mertseger). A questa altezza, su entrambi i lati, si aprono scale e locali non esplorati.
Un terzo brevissimo corridoio, sulle cui pareti (9) sono visibili tracce di testo, adduce ad un appartamento più interno. in parte non ultimato. Sulle pareti: (10-11-12) portatori di offerte e personaggi vari; su altre pareti (13) una fanciulla in offertorio al defunto e alla moglie; (14) il defunto e la moglie adorano una mummia. Una piccola camera più interna presenta (15-16), su due registri per ogni parete, il defunto e la moglie con libagioni mentre sul fondo si apre una nicchia (17) in cui, in una doppia scena, il defunto adora la dea Hathor[9].
Fonti
- Gardiner e Weigall 1913
- Donadoni 1999, p. 115.
- Porter e Moss 1927, p. 352
[1] La prima numerazione delle tombe, dalla n.ro 1 alla 253, risale al 1913 con l’edizione del “Topographical Catalogue of the Private Tombs of Thebes” di Alan Gardiner e Arthur Weigall. Le tombe erano numerate in ordine di scoperta e non geografico; ugualmente in ordine cronologico di scoperta sono le tombe dalla 253 in poi.
[2] Nella sua epoca di utilizzo, l’area era nota come “Quella di fronte al suo Signore” (con riferimento alla riva orientale, dove si trovavano le strutture dei Palazzi di residenza dei re e i templi dei principali dei) o, più semplicemente, “Occidente di Tebe”.
[3] le Tombe dei Nobili, benché raggruppate in un’unica area, sono di fatto distribuite su più necropoli distinte.
[4] Le note, sovente di inquadramento topografico della tomba, sono tratte dal “Topographical Catalogue” di Gardiner e Weigall, ed. 1913 e fanno perciò riferimento alla situazione del’epoca.
[5] Porter e Moss 1927, p. 352.
[6] I preti “wab”, ma anche “uab”, o “uebu”, appartenevano al basso clero ed erano incaricati della manutenzione degli strumenti del culto e degli oggetti comunque ad esso connessi. A loro competeva il lavacro e l’abbigliamento giornaliero della statua del dio presso cui operavano e a loro competeva il trasporto della statua del dio (generalmente su una barca sacra) durante le cerimonie. Erano gerarchicamente sottoposti ad un capo o “grande prete wab” cui competevano le operazioni giornaliere di culto della divinità.
[7] Porter e Moss 1927, p. 352.
[8] La numerazione dei locali e delle pareti segue quella di Porter e Moss 1927, p. 348.
[9] Porter e Moss 1927, p. 352.

2 pensieri su “TT275 – TOMBA DI SOBEKMOSE”